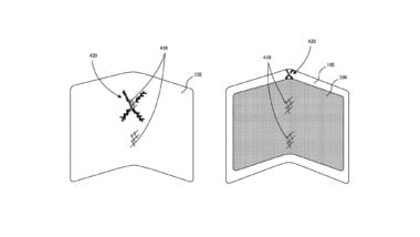
Apple pracuje na špeciálnej klávesnici
Apple vždy vynikal inteligentnými riešeniami pre svoje zariadenia. V budúcnosti už možno neuvidíme pod klávesnicou prenosných počítačov touchpady. No nie je to ale prvý raz, čo sa spoločnosť zamerala na klávesnice svojich prenosných počítačov. Naposledy to bol TouchBar, ktorý mnohým tvorcom zjednodušil ovládanie rôznych programov presunutím najčastejšie využívaných funkcií do TouchBaru.

