Podrobnosti priniesol portál Patently Apple zameraný práve na patenty zo sveta Apple a jeho technológií. Sprievodný text k žiadosti o udelenie patentu vysvetľuje ako môže byť snímač odtlačku zabudovaný v displeji ešte presnejší a spoľahlivejší.
Na rozdiel od podobných riešení, ktoré sú už v súčasnosti prítomné na rôznych Android zariadeniach, bude technológia využívať svetlo dopadajúce mimo os. Vďaka nemu bude možné odtlačky snímať efektívnejšie aj bez nutnosti väčších rozmerov senzoru.

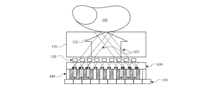
Väčšina skenerov zabudovaných pod displejmi využíva svetlo vysielané z obrazovky, ktoré presvieti prst priložený na sklo. Táto technológia však má viaceré nedostatky ako nízke svetlo a difrakcia, ktoré sú zapríčinené vrstvami v displeji. To môže v praxi znamenať, že používateľ musí opakovane priložiť prst, aby autentifikácia prebehla úspešne.
Apple chce tento princíp vylepšiť o spomínané senzory snímajúce odtlačok v závislosti od uhlu, čím sa môže zlepšiť kontrast a tým bude odtlačok jasnejší a presnejší.
Podľa dostupných informácií od Ming-Chi Kua chce značka sprístupniť technológiu Touch ID zabudovanú v displeji s príchodom iPhonov v roku 2023, no analytici Barclays sú v tomto optimistickejší a veria v možné predstavenie v rámci ponuky iPhone 13.
zdroj: Patently Apple
