Na internete sa objavili informácie ohľadom výskumu Apple, ktorý si nechal aj patentovať. Podľa tohto patentu sa totiž Apple zaoberá vývojom novej klávesnice pre MacBook, ktorá by mohla obsahovať odnímateľnú klávesu, pričom po vyjmutí by táto klávesa fungovala ako myš.
Podaný patent, ktorý si ako prvý všimol Patently Apple nesie názov „Odnímateľná klávesová myš„ a tento patent bol podaný už aj na patentový úrad v USA a na úrade pre ochranné známky.

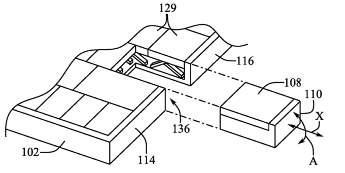
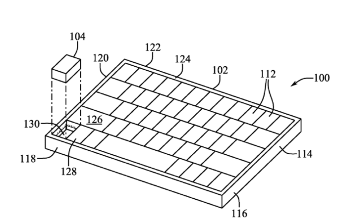
Obsah patentu popisuje štandardnú klávesnicu MacBooku s „nožničkovým“ mechanizmom, ktorý ale obsahuje skrytú, odnímateľnú klávesu. Táto klávesa má podľa patentu obsahovať pozičný senzor, ktorý bude slúžiť ako ukazovacie zariadenie. Apple popisuje tento systém ako „pohodlný, prenosný a presný vstup ukazovateľa pre počítačový systém“.
Apple ale nevychvaľuje svoj patent do nebies. Uvádza, že pri precíznych úlohách, ako je grafický dizajn, či počítačovo asistovaný dizajn, modeling a pre úpravu rozsiahlych, komplexných dokumentoch je stále lepšie využívať fyzické myši, než trackpady. Apple uznal, že prenášanie samostatnej, fyzickej myši s počítačom môže byť „záťažou“ a taktiež môže byť táto myš nadbytočná, ak už počítač má vstavané ukazovacie zariadenia“.

Odnímateľná klávesnica, ktorá funguje ako ukazovacie zariadenie je preto podľa Apple schodnejšie riešenie. Takže v niektorých prípadoch bude môcť táto odnímateľná klávesa fungovať ako súčasť klávesnice a pri funkcii „myši“, bude fungovať ako fyzické ukazovacie zariadenie, so vstavanou batériou.

Apple načrtol rôzne mechanické systémy resp. princípy, na ktorých by mohla táto odnímateľná klávesa fungovať. Príklady sú vidieť na obrázku. Ilustrácia patentu naznačuje, že vybraná klávesa by sa mala nachádzať na okraji klávesnice a teda by sa malo jednať o klávesu, ktorá nie je až tak často využívaná.
zdroj: MacRumors


komentáre
Touchbar je najväčšia kravina akú kedy vymysleli. Neverím fámam a podobným predikciám, ale kolujú zvesti, že ich plánuje Apple v dalších generáciách zrušiť.
Myslel som si, ze najvacsia kravina, ktoru robil Apple bol Touchbar, ale toto je snad este vacsia blbost.
je mozne, ze toto tromfne i demenciu menom touch bar..