Applu bol dnes uznaný patent, ktorý popisuje ovládanie počítača bez priameho kontaktu so zariadením – pomocou gest.
Spoločnosť si patent registrovala ešte v auguste minulého roku a stojí za nim tím vývojárov, ktorých Apple získal v roku 2013 akvizíciou spoločnosti PrimeSense. Ten mimo iného pracoval na pokročilom rozpoznávaní tváre v novom iPhone X a ich technológiu nájdeme aj v kamere Kinect pre Xbox.
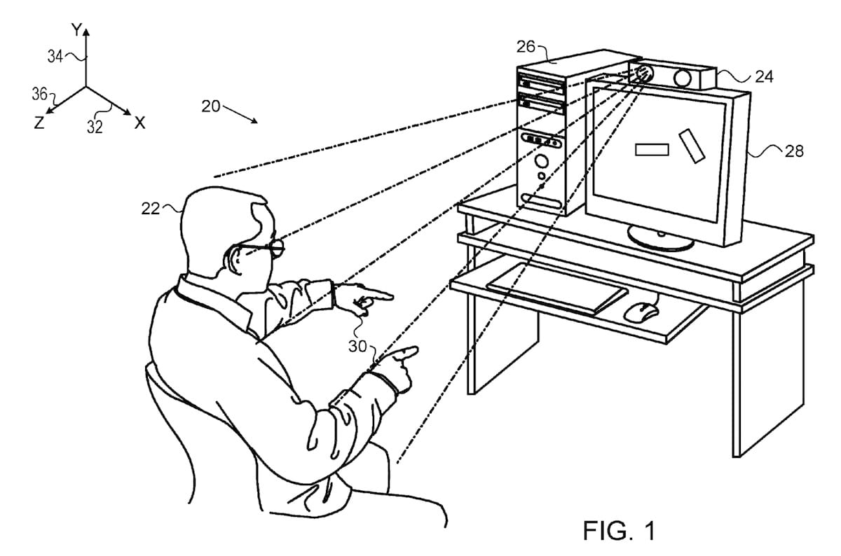
Patent popisuje akési 3D používateľské rozhranie, ktoré by umožňovalo Mac ovládať výhradne pomocou gest, napríklad pohybom ruky smerom hore, či jej zamávaním. Nejde vôbec o prvý takýto patent, no doteraz sme sa s podobnou technológiou ešte v žiadnom Apple produkte nestretli. Predošlé patenty sa týkali okrem Macov aj iOS zariadení, či Magic Keyboard.

Jednou funkciou, s ktorou však do budúcna určite rátať môžeme, je rozšírenie súčasného Face ID rozhrania aj na ostatné zariadenia spološnosti. Využitie by okrem iPadov rozhodne našlo aj na laptopoch a stolových počítačoch. Avšak vzhľadom na len nedávnu implementáciu Touch ID do MacBooku Pro to môže ešte niekoľko rokov potrvať.

