Na portáli Patently Apple si všimli nový patent, v ktorom Apple popisuje indukčné nabíjanie medzi elektronickými zariadeniami. Technológiu nabíjania medzi zariadeniami Apple skúmal od roku 2016, kedy prvýkrát podal prihlášky na patenty, ktoré už v súčasnosti vlastní a využíva.
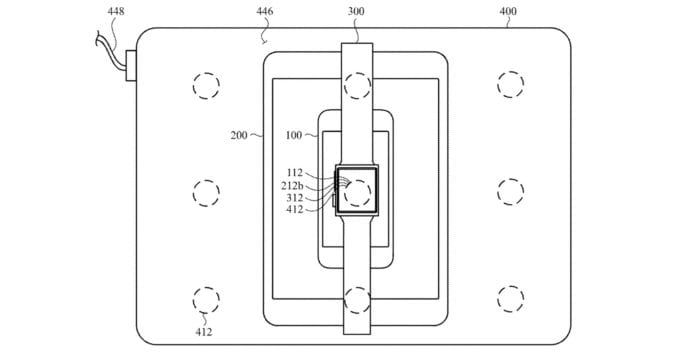
V novom patente sa uvádzajú možnosti, vďaka ktorým by bolo možné zariadenia ako Apple Watch, iPhone, iPad a MacBook využívať spoločný ekosystém pre dopĺňanie energie. V patentových nákresoch vidno viacero umiestnení pre cievky na nabíjanie, vďaka ktorým by bolo možné paralelne nabíjať viacero produktov. Potenciálnym miestom by mohlo byť veko laptopu, či miesta pre oporu rúk alebo dokonca trackpad.

Nabíjanie by bolo obojsmerné, takže zariadenia by mohli prijímať aj odovzdávať energiu, podľa voľby používateľa či automaticky vyhodnotením stavu nabitia zariadení. Z nákresov vidno, že Apple kladie pri koncepcii dôraz na vzájomné prepájanie jednotlivých zariadení a veľkú voľnosť pri kombinovaní a umiestňovaní produktov na seba. Možnosťou je aj nabíjanie niekoľkých, na sebe uložených zariadení pomocou jedného káblu, ktorý by bol pripojený k prvému zo zariadení.

V dokumentácii sú zmienky aj o magnetoch, ktoré by zjednodušovali správne umiestnenie zariadení – veľmi podobne ako v prípade aktuálnych nabíjačiek MagSafe pre iPhone.
Okrem hardvéru sa patent zaoberá aj softvérovým aspektom – vzájomná integrácia by mala umožniť naprklad zobrazovať info o správnom umiestnení nabíjaného produktu a jeho percentuálnom nabití. Ak by napríklad bol iPhone umiestnený na displej iPadu, mohol by systém zareagovať preskupením prvkov UI tak, aby časť displeja prekrytá nabíjaným smartfónom neobsahovala dôležité aspekty z obrazovky iPadu. Alternatívou je zobrazenie týchto prvkov na displeji iPhonu, ktorý je umiestnený na displeji tabletu.

zdroj: Patently Apple

