Najnovšie správy z Ázie tvrdia, že Apple by do budúcich iPhonov mohol zakomponovať displeje až do veľkosti 5,8 palcov. Hovorí sa o roku 2017, alebo 2018, teda približne o rovnakom období, v ktorom by si Apple mohol vo svojich telefónoch osvojiť OLED displeje.
Ray Soneira z DisplayMate špekuluje, že zväčšenie uhlopriečky nemusí nutne znamenať väčšie zariadenie. Okrem zredukovania okolitých rámčekov by Apple mohol taktiež celkom reálne použiť flexibilné OLED displeje, ktoré by sa na stranách zariadenia ohýbali. Takýto displej by nahradil fyzické tlačidlá na boku zariadenia a mohol by tiež ponúkať ďalšie zaujímavé funkcie.

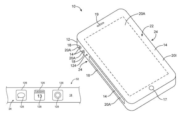
Samsung vo svojich vlajkových lodiach už dávnejšie používa zahnuté OLED displeje, no podľa Soneiru by malo riešenie od Applu vyzerať trochu inak. Odkazuje pritom na patenty spoločnosti z roku 2011, ktoré opisujú zahnutý displej a virtuálne tlačidlá na bokoch telefónu. Apple si tiež patentoval niekoľko potenciálnych tvarov takéhoto zariadenia, od hranatých bokov až po valec.
Niet pochýb, že OLED displeje sú budúcnosťou. Ponúkajú totiž lepšie podanie farieb, kontrast a pozorovacie uhly a to všetko pri menších rozmeroch a váhe. Okrem toho sa v blízkej budúcnosti očakáva, že OLED displeje sa budú dať ľahko ohýbať a skladať, čo by si mohlo nájsť zaujímavé využitie. Podľa dostupných informácií z výrobného reťazca by mal takéto displeje Apple použiť už v roku 2017, alebo 2018.



