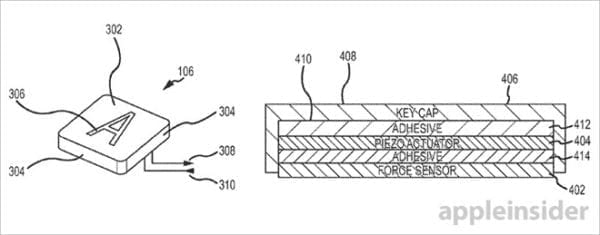
Apple možno čoskoro rozšíri technológiu Force Touch zo svojich trackpadov aj na klávesnice. Na stránkach amerického patentového úradu sa objavila nová technológia popisujúca klávesnicu bez akýchkoľvek mechanických prvkov. Fyzické stláčanie kláves by nahradilo niekoľko integrovaných senzorov a ich zdvih by pritom simulovali malé vibračné motorčeky, rovnako ako v prípade Force Touch trackpadov a iPhonu 6s.
Rozdielom by však bola implementácia, v prípade klávesnice by potrebné senzory musela obsahovať každá klávesa zvlášť. Tie by tak nahradili nožnicové, či motýlikové prepínače v súčasných MacBookoch. Výhody sú očividné – dizajn bez mechanických častí by v budúcnosti umožnil ešte tenšie notebooky, prípadne viac miesta pre interné komponenty. To však nie je všetko.
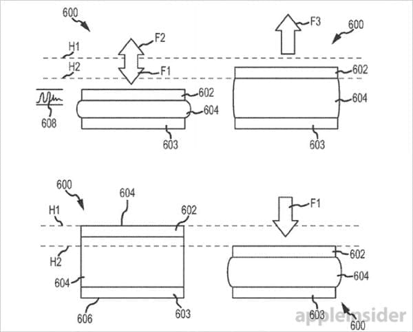
Pomocou rozpoznávania rôznych úrovní zatlačenia by bolo možné klávesám priradiť rôzne funkcie – normálnym stlačením by klávesnica napísala normálny znak a silnejším stlačením napríklad jeho verziu s diakritikou, či iný špeciálny symbol. Na rovnakom princípe fungujú aj nové “peek and pop” gestá v iPhone 6s, ktorými môžeme zobrazovať rýchle náhľady obsahu.
Či sa takáto klávesnica niekedy aj objaví v dokončenom produkte od Applu je však prinajmenšom otázne. O patent spoločnosť požiadala už v septembri roku 2012.



