Apple pracuje na špeciálnom magnetickom konektore, ktorý by umožnil naskladať na seba viaceré periférne zariadenia – napríklad nabíjačky, slúchadlá, či klávesnice.
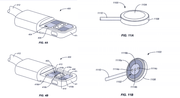
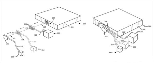
Nedávno zverejnený patent na nákresoch ukazuje dva typy magnetických konektorov, ktoré by sa mohli na seba naskladať a umožniť tým pripojenie viacerých zariadení súčasne. Podľa obrázkov ide o konektor podobný USB-C/Lightning portu a kruhovitú nabíjačku známu z Apple Watch.
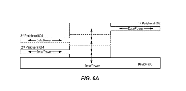
Takéto spojenie by neprenášalo len dáta, ale taktiež prúd. To by znamenalo, že zariadenia by si teoreticky vystačili s jediným konektorom, do ktorého by používateľ mohol pripojiť nabíjačku, slúchadlá, dátový kábel, či ďalšie periférie ako klávesnice a docky. A to všetko súčasne. Na podobnom princípe dnes funguje napríklad MagSafe známy z MacBookov, či Smart Connector na iPade Pro. Okrem toho, že sa nedajú skladať však MagSafe nie je schopný prenášať dáta a Smart Connector v súčasnosti podporuje len externé klávesnice.
Ako vždy, ide len o predbežný patent, ktorý nikdy nemusí uzrieť svetlo sveta. Podobný systém by bol však extrémne užitočný v iPadoch budúcnosti, či dokonca v pripravovanom iPhone 7. Takéto riešenie by navždy vyriešilo dilemu s použitím Lightning vstupu na pripojenie slúchadiel – pomocou skladacích magnetov by totiž používatelia mohli bez problémov počúvať hudbu a súčasne telefón aj nabíjať.
Nové zábery na iPhone 7 Plus ukazujú dvojitý objektív a Smart Connector
 
					


 
					 
											 
											 
											 
											 
											